Sarah Boone

Sarah Boone
BornSarah Marshall
c. 1832
Craven County, North Carolina, US
Died1904 (aged 71–72)
New Haven, Connecticut, US
Other namesBoon
Occupation
  • Inventor
  • dressmaker
Known forInventor of an ironing board improvement
Spouse(s)James Boone (m. 1847)
Children8

Sarah Boone (née Sarah Marshall; c. 1832 – 1904) was an African-American inventor.

Invention

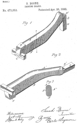
On April 26, 1892, Boone was granted United States patent number 473,563[1] for her improvements to the ironing board. Boone's ironing board was designed to improve the quality of ironing the sleeves and bodies of women's garments. The ironing board was very narrow, curved, and made of wood. The shape and structure allowed it to fit a sleeve and it was reversible, so one could iron both sides of the sleeve.[2][3]

Boone is regarded[notes 1] as the second African-American woman to be granted a patent, after Judy Reed.[4] Other early African-American woman inventors were Miriam Benjamin, Ellen Eglin, and Sarah Goode.[5]

Personal life

The patent drawing for the ironing board invented by Sarah Boone.

Sarah Marshall was born in Craven County, North Carolina, near the town of New Bern, in 1832.[6] Along with her three siblings, she was born into slavery and hence barred from formal education.[7][8] Sarah was educated by her grandfather at home.[8] On November 25, 1847, she married James Boone (or Boon)—a free black man—in New Bern and was granted her freedom.[6][9][10] They had eight children.[11]

The Boone family left North Carolina for New Haven, Connecticut, before the outbreak of the American Civil War.[12][6][10] They settled into a house at 30 Winter Street.[13] Boone worked as a dressmaker [6][14] and belonged to the Dixwell Avenue Congregational Church.[1]

Death

Boone died in 1904, and is buried in a family plot in Evergreen Cemetery in New Haven.[6]

See also

Notes

  1. ^ Patents in this era record neither gender nor race of the patentee (with the sole exception of Henry Blair). However there is significant interest in both early women patent holders, and early African-American patent holders.

References

  1. ^ a b Ramirez, Ainissa (July 26, 2020). "Two inventors who should have statues". The Hartford Courant. Retrieved August 6, 2020.
  2. ^ Patent US473653 - Ironing-board - Google Patents
  3. ^ Sullivan, Otha Richard (2002). African American Women Scientists and Inventors. John Wiley & Sons, Inc. pp. 12. ISBN 9780471387077.
  4. ^ Helton, Daniel (July 4, 2018). "Sarah Boone (1832-1904) •". Retrieved April 18, 2021.
  5. ^ McNeill, Leila (February 7, 2017). "These Four Black Women Inventors Reimagined the Technology of the Home". Smithsonian. Retrieved February 6, 2018.
  6. ^ a b c d e Bellis, Mary. "Hate Creases? Sarah Boone's Invention Could Help". ThoughtCo. Retrieved February 5, 2018.
  7. ^ "Simply Ingenious: The Ironing Board". Tampa Bay Times. February 14, 1998. p. 37. Retrieved February 6, 2018 – via Newspapers.com.
  8. ^ a b by (March 11, 2020). "Who Invented the Ironing Board?". HomeCult IroningLab. Retrieved April 18, 2021.
  9. ^ "Craven County North Carolina Marriages 1740-1868". FamilySearch. Raleigh, North Carolina: State Archive of North Carolina. November 25, 1847. p. 30. Film #004364799, image 35. Retrieved February 7, 2018.
  10. ^ a b Boyd, Herb (August 5, 2021). "Sarah Boone, inventor of the ironing board and first Black woman to get a patent". New York Amsterdam News. Retrieved December 9, 2021.
  11. ^ "1900 U. S. Census City of New Haven, Connecticut". FamilySearch. Washington, D.C.: National Archives and Records Administration. June 11, 1900. p. 13-A. NARA record series T623 roll 146. Retrieved February 7, 2018.
  12. ^ Perry, Paul Wardell (January 1, 2000). "Little Things That Made a Big Difference". The New Crisis. Archived from the original on April 23, 2019. Retrieved March 2, 2020.
  13. ^ "1880 U. S. Federal Census for New Haven County (Connecticut) Enumeration District 91, Sheet 46, Lines 46-50 and Sheet 47, Line 1". FamilySearch. Washington, D.C.: National Archives and Records Administration. June 8, 1880. pp. 46B – 47A. NARA record series T9, Roll 106. Retrieved February 7, 2018.
  14. ^ "1870 U. S. Federal Census for the First Ward of the City of New Haven, New Haven County, Connecticut, Line 34". FamilySearch. Washington, D.C.: National Archives and Records Administration. July 9, 1870. p. 175. NARA record series M593, Roll 109. Retrieved February 7, 2018.