15

We are told that heat increases a resistor's resistance (or decreases its conductance) and current decreases when resistance is increased.

So with less current, less heat would be dissipated, which drops the resistance and causes more current to flow, and then again, more current, more heat... It seems like an endless cycle .

Does this fluctuation ever occur in real circuits? Does it stop at some point?

(I am referring to DC circuits, since this would probably be much more complicated in AC circuits)

mike65535
  • 1,493
  • 2
  • 16
  • 27
soundslikefiziks
  • 979
  • 1
  • 13
  • 24
  • Why do engineers design clever oscillating circuits when they could simply throw in a resistor? /sarcasm – Dmitry Grigoryev Jul 03 '18 at 12:02
  • 4
    @DmitryGrigoryev: Because such an oscillator sounds like it would be very sensitive to ambient heat (assuming it would work) – MSalters Jul 03 '18 at 15:35
  • what you are describing is the case that the resistor is driven by a constant current source -> P = R*I². That can happen, and is called thermal runaway. This also means that that the current source has to deliver more and more power (in real you have a limit, or maybe the resistor flows or smokes away.) However, in most cases you will have a voltage source. In that case P = U^2 / R, that means the higher R, the less power the source has to deliver. That's stabilize it, if the temp-coefficient is positive.4 – abu_bua Jul 03 '18 at 20:38
  • 1
    I always wondered about two identical incandescent light bulbs in series driven by a voltage source. The one with slightly higher resistance could rob the other of power, and they would have unequal brightness. But a momentary boost to the dim bulb or a momentary current starvation to the bright one would reverse such a flipflop. – richard1941 Jul 06 '18 at 06:08

11 Answers11

19

This could be analyzed in the same way as a control circuit with feedback. From a practical sense, the heating will be much slower than the other effects, so that will dominate the loop equations. As such, it will exponentially approach equilibrium, unless there's other elements of the system that limit its response (ridiculously enormous inductors, state machines introducing delays, etc).

Transistor
  • 175,532
  • 13
  • 190
  • 404
15

This is something like a PTC thermistor. which will reach an equilibrium temperature.

To get oscillation you'd have to have a phase shift or delay of some kind. You could probably make an oscillator with a mass transport delay having a a heater heat water flowing in a tube which warms a thermistor downstream and increases the heat to the upstream heater.

Spehro Pefhany
  • 397,265
  • 22
  • 337
  • 893
10

I believe it's possible to build a simple physical model with the ideas you provided.

In a simple DC circuit, under a constant voltage V and ohmic resistance R it is possible to use the power equation: $$P = V i = \frac{V^2}{R}$$

If we suppose the system is made of a wire with constant length L and cross section area A, the resistance R can be: $$R = \rho \frac{L}{A}, \: where \:\: \rho = resistivity$$

For small temperature T oscillations, the resistivity can be approximated to: $$\rho = \rho_0(1 + \alpha(T - T_0) ) = \rho_0(1 + \alpha \Delta T)$$

And since there's only solid material heating, the power recieved by the wire is: $$P = \frac{dQ}{dt} = \frac{d}{dt}(mcT) = mc \dot{T} = mc \Delta \dot{T}, \: where \:\: \Delta \dot{T} = \frac{d\Delta T}{dt} = \frac{dT}{dt}$$ Finally, all of this together becomes: $$mc \Delta \dot{T} = \frac{V^2 A}{\rho_0 L}\frac{1}{1 + \alpha \Delta T} \Rightarrow \frac{mc \rho_0 L}{V^2 A}\Delta \dot{T} = \frac{1}{1 + \alpha \Delta T}$$ I don't know how to solve this analytically, but there's a valid approximation since I am working with small temperature fluctuations: $$ \frac{1}{1 + \alpha \Delta T} \approx 1 - \alpha \Delta T$$ Now, we can solve it: $$\frac{mc \rho_0 L}{V^2 A}\Delta \dot{T} + \alpha \Delta T - 1 = 0$$

And the solution is: $$\Delta T = C e^{ - t/\tau } + \frac{1}{\alpha} \, , \: where \: \tau = \frac{m c L \rho_0}{\alpha A V^2} \: \: and \: \: C = cte $$

In this model, we see a transient solution followed by a constant one. But remember this is valid just for small temperature fluctuations.

Math Keeps Me Busy
  • 23,260
  • 4
  • 21
  • 75
Pedro Valois
  • 116
  • 3
8

Does this fluctuation ever occur in real circuits?

I don't think this is exactly what you were asking for, but just in case, turn signal flashers depend on this behavior.

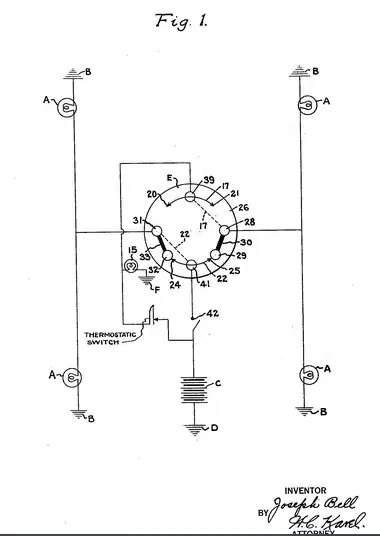
From the 1933 Patent:

Turn signal patent circuit diagram

A thermostatic switch closes and opens the secondary circuit. When current flows a metal strip in the switch heats up, expands and eventually opens the circuit. When it cools down it shrinks and closes again.

Some modern ones (especially when low-current LED bulbs are used) are digital/solid state, but lots of cars still use the same exact principle.

Nick
  • 403
  • 1
  • 3
  • 8
  • 1
    Turn signals rely on the temperature change making and breaking a contact, not merely altering the resistance of a homogenous conductor. – Peter Green Jul 03 '18 at 12:03
  • True, though the flasher does depend on the current draw from the bulbs for the flash rate. – Nick Jul 03 '18 at 13:51
  • I suspect "bimetallic" might be more accurate than "metallic", but don't know for sure – Scott Seidman Jul 03 '18 at 23:36
3

That depends on heat capacity of the element. Lower the heat capacity, more like a resistive feedbacked opamp circuit where the temperature will converge. Heat capacity acts like reactive elements and will cause oscillations. Element's heat conductivity (heat transfer speed to outside) will determine if it is going to be damped or diverged.

Ayhan
  • 1,204
  • 10
  • 17
3

For the record, I loved Pedro Henrique Vaz Valois' answer and upvoted it.

Said simply: Yes there are transients.

You can think of this in the same way you would an RLC step-function circuit. Apply blow dryer, throw the switch, see transients on oscilloscope, watch flat line appear as all the energy balances out to a steady state. Turn the switch into an oscillating voltage and watch the resistance swing back and forth for as long as the oscillating voltage exists.

And it's a very real problem

One of many reasons why big honking cooling systems are attached to CPUs and other high-density/high-frequency chips is that we don't (we desperately don't) want to deal with heating effects. Resistor manufacturers go to great lengths to minimize the resistance variability in their products.

It's worth your time to read "Non-Linearity of Resistance/Temperature Characteristic: Its Influence on Performance of Precision Resistors" published earlier this year from Dr. Felix Zandman and Joseph Szwarc of Vishay Foil Resistors.

JBH
  • 593
  • 5
  • 11
2

We are told that heat increases a resistor's resistance (or decreases its conductance) and current decreases when resistance is increased.

Depends on what the resistor is made of. Most of them have a positive temperature coefficient but it is quite possible to make one with a negative temperature coefficient.

Does this fluctuation ever occur in real circuits?

In general no, normally they just gradually tend towards a steady state temperature.

Peter Green
  • 22,193
  • 1
  • 39
  • 82
1

No. The temperature approaches an equilibrium, but does not overshoot it such that it must then change directions and come back.

Consider a resistor that's initially at room temperature with no current.

Then, it's connected to a constant voltage. Immediately the current increases to some value determined by Ohm's law:

$$I = {E \over R} \tag 1$$

The resistor converts electrical energy into thermal energy through Joule heating:

$$P_J={E^2 \over R} \tag 2 $$

It also loses heat to its environment at a rate proportional to its temperature. The size, geometry, airflow and so on can be combined and characterized as a thermal resistance \$R_\theta\$ in units kelvin per watt. If \$\Delta T\$ is the temperature of the resistor above the ambient temperature, the rate of thermal energy lost to the environment is given by:

$$ P_C = {\Delta T \over R_\theta} \tag 3 $$

As the resistor becomes warmer, it loses thermal energy to the environment faster due to an increasing \$\Delta T\$. When that rate of loss (equation 3) equals the rate of energy gain by joule heating (equation 2), the resistor has reached temperature equilibrium.

Equation 2 decreases with increasing temperature, assuming a typical positive temperature coefficient. Equation 3 increases with increasing temperature. At some point the resistor has warmed sufficiently that they are equal. There is no mechanism by which the resistor would "overshoot" this equilibrium, thus requiring that the resistor go from warming up to cooling off. Once equations 2 and 3 are equal, the temperature, resistance, and current have reached equilibrium and there's no reason for them to change further.

Phil Frost
  • 57,310
  • 18
  • 145
  • 267
1

In a simple model, the current is a direct function of the resistance and the resistance is a direct function of the temperature. But the temperature is not a direct function of the current: the current governs the amount of heat that is produced, which influences the variation of the temperature over time.

In the linear regime, this corresponds to a first order equation

$$\frac{dT}{dt}=-\lambda(T-T_0).$$

As the coefficient is negative (an increase of the temperature causes an increase of the current, a decrease of the amount of heat and finally a decrease of the temperature), the system is stable and will converge to a steady state.

And in any case, a first order system does not have a oscillatory mode.


For such a behavior to be possible, a source of instability is needed, such as a negative thermal coefficient, as well as a second differentiator.

Yves Daoust
  • 179
  • 5
  • "And in any case, a first order system does not have a oscillatory mode.". I am afraid that is inaccurate. First order systems can oscillate if there is a delay, even if they are linear (I just googled a paper about that), or if they are nonlinear (this is from my deep memory). – Sredni Vashtar Jul 04 '18 at 18:16
  • @SredniVashtar: I specifically said "linear regime", and "first order" implicitly excludes delay (otherwise you state it). Your comment is irrelevant. – Yves Daoust Jul 05 '18 at 06:25
  • "IN ANY CASE, A first order system dose not have a oscillatory mode". This is wrong. When you state "in any case" you are voiding all previous specifications, while using indeterminate "A first order linear system..." implies all first order system, regardless of being linear or not. So my comment still stands. You are right about the retarded system to be nonlinear, though. – Sredni Vashtar Jul 05 '18 at 08:59
  • 1
    @SredniVashtar: you misunderstand the meaning. In any case refers to the sign of the constant. Stop this useless argument. – Yves Daoust Jul 05 '18 at 09:15
  • I am sure that "in any case" means what you mean, in your head. And now I also know you could not possibly be wrong, ever. But I'll leave my comment for anyone else. – Sredni Vashtar Jul 05 '18 at 10:06
0

Different materials have different conduction properties, including their thermal profiles. That is, some materials will heat up much more than others given the same current flow. This is one reason why components such as resistors have a tolerance.

The temperature fluctuations you describe don't really happen in real circuits. Instead, the resistor would heat up as current begins to flow but would reach an equilibrium point where the amount of heat generation from the current matches the amount of heat radiated into the surrounding air. Then the temperature of the resistor remains stable, the actual resistance remains stable, and the current remains stable.

Mick
  • 109
  • 4
  • Fifty years ago in college we learned about the first law of thermodynamics. The heating of the resistor depends on the power, the time and the thermal heat capacity, not at all on the material (assuming it is not getting hot enough to melt or vaporize as in a fuze). – richard1941 Jul 06 '18 at 06:18
  • And what determines the heat capacity...? – Mick Jul 06 '18 at 06:27
  • Also, AiR is not needed for a resistor to radiate heat any more than ether is required for it to radiate electromagnetic healing energy frequency vibrations of the life force. Of course heat may be transferred by conduction and convection, but that is another story for another day... – richard1941 Jul 06 '18 at 06:28
0

Actually there was a neat application for this in the olden days. The blinkers on a car were operated by a bimetallic thermal switch. When the blinker light is on the bimetallic heats up and flexes opening the circuit. Then the heat dissipates, the switch cools and closes again.

Not sure if all cars still use the bimetallic switch, but I'd guess that some now use computer control.

MaxW
  • 129
  • 3