Given Vce = 2V, Ic = 1.7mA, and Ie = 1.6 mA, I used KCL to determine that Ib = -0.1 mA. Does this mean that the BJT npn is in reverse active mode?
2 Answers
In order to have a NPN transistor in the reverse-active region, you need to have Vc<Vb<Ve (for an NPN BJT). This means that Vce must be less than 0. Given that your calculated Vce is equal to 2 volts, I think you might've calculated your base current wrong since current will flow into the base terminal of a transistor regardless of mode of operation. I've made a simple circuit to show what exactly goes on when an NPN transistor is in the reverse-active region so that you can understand it better: https://everycircuit.com/circuit/5450644806434816
- 31
- 1
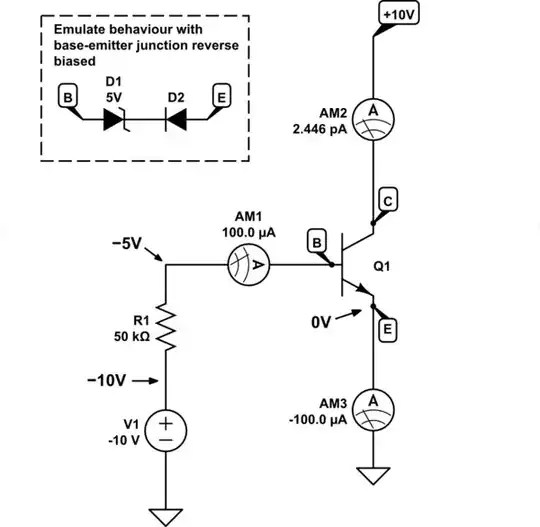
The situation you describe is this:

simulate this circuit – Schematic created using CircuitLab
This is not reverse active, since \$I_C\$ is positive.
The only way to get the transistor to source current from its base in this way is to significantly reverse bias the base-emitter junction. That junction behaves like a zener diode, and would require \$V_B << V_E\$ to begin conducting. Typically we assume that the reverse breakdown voltage of the junction is 5V or more, so to make the junction source current, you would need to make the base at least 5V lower in potential than the emitter:

Note: The simulator does not model a reverse-biased base-emitter junction; I've had to add everything in the dotted box to emulate that.
However, in that state, emitter current is into the emitter. I'm not sure what the collector would be doing in this state, but I would hazard a guess that it would be sinking near zero current, as shown above.
In any case, regardless of collector current, the scenario you describe is infeasible.
- 34,939
- 2
- 17
- 105
-
about the collector behavior: https://electronics.stackexchange.com/q/701780/237061 – tobalt Mar 08 '24 at 04:58
\$to surround/bracket Latex-like (MathJax, really) expressions. You can use$$to surround them where they take up a whole line, instead. It's not possible to help you identify mistakes if we cannot see the work product. – periblepsis Mar 08 '24 at 00:52