Like promised, I am now looking at EN ISO 14405-1:2016 where this E symbol (Ⓔ) is defined. More accurately is defined in section "3.8 envelope requirement".
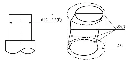
The upper value of a external feature defines a virtual cylinder that the entire feature has to fit inside. Likewise a internal features minimum value defines a cylinder that has to fit inside the hole.
Each slice of needs to be smaller or bigger (for internal features) than the other tolerance value measure as a two point size (imagine measuring with a caliper)
Note: Nowehere does it say the cylinder is aligned to the centerline

Image 1: Cylinder needs to be inside the envelope and not point measured smaller than the minimum size.
See relevant standard for more robust explanation.