Looking for a durable material you can walk on that will attract pet hair from shoes without sticky or adhesive qualities. Preferably won’t need active electric current but can consider that.
2 Answers
Installing enough electrostatic material on your floor will be significantly more work than having a handheld device that you can use to brush off your shoes.
This device appears to use electrostatics to hasten the removal of pet hair:
The ChomChom Roller is handheld and requires no power source. While it looks similar to the traditional lint roller, the similarities stop there. Moving the roller back and forth over any fabric surface creates an electrostatic charge, attracting nearby hair and dust. Hair and dust are then deposited in a small compartment behind the roller. Users simply empty the compartment in the trash and the ChomChom Roller is ready for more.
You can buy this device (or significantly cheaper generic versions) on Amazon. Interestingly, the branded device's website mentions that it is "internationally patented," but I can find no evidence to support this claim. The strongest legal protection I can find relating to their company is their trademark registration, so I filed a support request on their "Contact Us" page:
They mention a 24-hour turnaround policy on these customer support inquiries, so I'll edit this answer within the next two days if they respond with supporting documentation.
Documented patent applications for adhesive-free hair removers:
- US20150342426A1 (Hair remover) describes a suction-driven cleaner but contains a brush head unit reminiscent of the branded device.
It realizes the extraction of pet hair and bubbles through a motion of translation on fabric, which can be linear or circular as regards the fabric.
Classifications... Suction cleaners adapted to the cleaning of brushes
- US20150257361A1 (Static electricity pet hair remover) is mechanistically similar to the branded device but is constructed of large freestanding brush-covered posts for grooming.
The brushes are made of a material having a tendency to attract large numbers of electrons and hold a negative static charge. As a pet rubs itself against the posts, the pet's hair becomes positively charged. The hair is attracted to the negatively charged brush...
Classifications... Rubbing-posts
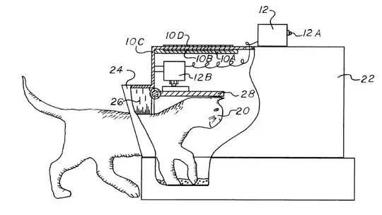
- US5957090A (Electrostatic pet hair remover) is a hilarious electrostatic generator that you're supposed to feed your pets/hair-covered household items through. I won't even include text from this patent in favor of this incredible figure:
- 236
- 1
- 4
Actually if you don't mind using active electronics, it is trivial to make a floor that can attract all the dust and hairs you want. Just coat your floor with an electrically conductive paint like a nickel filled acrylic. Then insulate this conductive layer with a good insulative coating like an epoxy paint that is two part, resin and hardener. Make sure you double coat the edges of the conductive layer because that is where the electrostatic charge will be greatest. Make a contact point on the conductive layer and make an attachment to a high voltage charging circuit like the ones designed to charge up electrostatic loudspeaker diaphragms, just a low power high voltage power supply that feeds the conductive layer through a high value resistor, somewhere in the range of 5 megohms or so. This is the way to safely generate a strong electric field without the chance of getting a bad shock. You can apply any high voltage you want to the conductive layer, you are only limited by the dielectric strength of your epoxy insulating layer.
- 601
- 3
- 8

