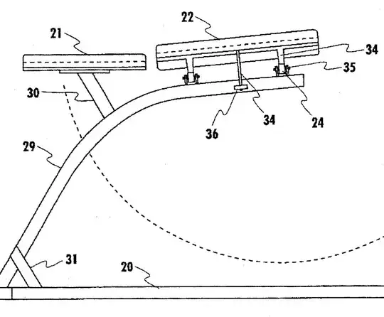
I want to build a bench that a user would lie face down on, like a weights bench, however this bench should be able to rock to each side around 30degrees. So I need the bench top to sit on some kind of hinge. This should be able to take up to say 150kg. Here's a picture
https://i.ibb.co/tc0B8R9/20240506-105038.jpg
On the image, 22 is the bench top that a user would lie on with their chest facing down, 24 and 35 would be the hinges that allow the bench to move to each side around 30 degrees. What components at 24 or 35 would be best used to do this?
