I've been working on this problem for years (literally) and haven't yet found a workable, scalable, pragmatic, and cost-effective solution that would allow me to selectively rotate one or more of 80 discs closely aligned on a single, rotating shaft.
Basically, I have 80 identical "discs", each of which is approximately 2 mm wide, spaced out with approximately 2 mm between each disc, concentrically mounted along a shaft (which can be anywhere from 5-20 mm in diameter).
Unfortunately my background is in electronics and not in mechanics or mechanical engineering, and I'm unaware as to whether or not this can be considered a "solved problem" at this scale.
I have tried a number of different approaches (both conceptually and in prototype) but have constantly been stymied by the tight specifications.
Conceptually, something as simple as a gear translating rotation in one axis to another (perpendicular) axis, attached to each "disc" and actuated by a linearly-moving motor would do the trick:
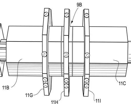
One attempt I've used is to have a rotating "indexer" fixed to a spindle in the middle of the shaft (with the rest of the shaft being free to spin around the spindle), then moving that linearly while subjecting it to rotational movement when aligned with the disc in question (with a matching cutout in each disc mated to the shape of the shaft/indexer), but the need for extreme precision in order for it to move freely along the axis made it unworkable (along with the fact that the shaft/spindle now needed to be twice the width of the working surface. In the example below, the indexer would be 9b, used to rotate 11H without rotating 11G or 11I:
I know one solution would be a clutch of sorts - if one exists that would fit on/in each of these discs. Then the clutches could be mounted directly to the shaft, and the clutch for each disc (somehow, as of yet that's a big question mark) engaged or disengaged as needed when the shaft is turning to translate that motion to each disc.
I had an idea to use a "magnetic clutch" (if that is a thing) where rectangular strips of magnets would be mounted into channels in the shaft, then tiny magnets would be embedded around the periphery of the cutout in each disc. The idea was that when not "locked" in place by some external mechanism, each disc would (by magnetic force) rotate with a spinning shaft. When externally locked, the disc would then hold in place with the "clutch" disengaged as the shaft spun freely under it. Unfortunately, it seemed that even with neodymium magnets, the friction from the entire system was too much for the magnets and the discs were permanently in an "unlocked" position and would not spin with the shaft.
There is also the obvious solution of using pure friction. I have leeway in what material the discs and shaft are composed of, but I'm not sure if that's something that can be considered a reliable solution as it should last for hundreds of thousands of "disengaged rotations" without wearing out or losing friction.
I feel like I might be overcomplicating the problem. Bottom line: tiny discs, one rotating shaft. Selectively (preferably in parallel, but one-at-a-time is fine) rotating each of the discs, without needing tolerances only achievable in a factory and at a affordable price (let's say under $100).



