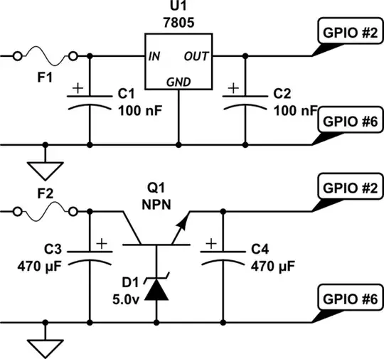
I'm a student in 7th grade building a project that has to include a raspberry pi of a contest coming up in april. Long story short I have a solar panel with a 6v usb output and I would like to power the pi. I know that the pi needs around 4.75 to 5.25 approximately, so what is the best way to turn the 6v usb output into a 5v micro-usb output?
Ps. I live in a 3rd world country so many thing will not be available. Thanks

