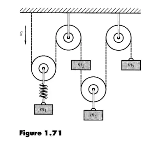
I'm trying to understand DOF clearly, but this pulley system has me doubting myself. When I try to determine the degrees of freedom, I sum the DOF of each object, and subtract the constraints. for this system, I have four pulleys (1-4, in order of the masses, 1 2 4 3 left to right, not labeled on the diagram) and four masses. That means there are a total of 8 bodies, all restricted to 1 DOF motion each, so 8 DOF for the bodies. However, I understand that the motion of pulley 3 is constrained to mass 3, and pulley four is constrained to mass 4. There is an additional constraint in that the rope is constant length. This would lead to 3 constraints, and 5 DOF, however, I believe there are further constraints that I am missing, namely between the pulleys and the masses attached to the rope directly. What is a good methodology to determine the DOF of this system?
2 Answers
I would argue that there are only 3 degrees of freedom in this system. Those can be the following (you can define others also):
The idea behind the DOF is a motion that is required to describe the motion of the system.
The pulleys at the top of the image do not translate (even if you want to calculate their rotation you can calculate it through the equation $x=r\cdot \theta$ (where r is the radius of the pulley and $\theta$ the angular displacement in radians).
mass 1 because it is attached to a spring. Because of that an additional degree of freedom is required to describe the compression/extension of the spring (this is the one degree of freedom that you cannot replace).
mass 3: the motion of mass 3 is entirely depended on the length of the rope (Let's call it $L_4$), and the position of the lower two pulleys
mass 2: This might seem tricky but again the motion of mass is depended only on the length of the rope up to mass 2 ($L_2$), and the position of pulley attached to mass 1.
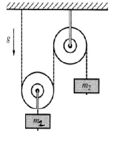
1 DOF example for illustration puproses
In order to illustrate the last point better, see the bottom image. The system is basically a portion of your original problem without the spring at the bottom of pulley 1.
You have two masses (I was too lazy to change the name for the mass 2) but only one dof is required to describe the motion of system. That is because,
- the displacement of mass 1 is equal to half the displacement of mass 2
- the velocity of mass 1 is equal to half the velocity of mass 2
- the acceleration of mass 1 is equal to half the acceleration of mass 2
Bottom Line: The number of dof does not have to do with the number of masses and objects in the system. It has to do with the required number of independent motions that describe the motion of the system.
- 24,340
- 3
- 38
- 77
Here is an answer from my understanding
The textbook definition of degree of freedom is the number of kinematically independent variables needed to describe the motion of every particle in the system.
The "particles" in your system are masses 1,2,3,4 and pulleys 1-4. Now we will work based on the assumption that pulleys 2 and 3 rotate but cannot translate vertically while pulleys 1 and 4 translate vertically and rotate and also that the rope is always taut.
Because the rope is taut, a displacement of mass 3 downward will cause the following scenarios based on the actual weights of the masses
Pulley 3 rotates while pulleys 4 and mass 4 move upwards or they (pulley4 and mass4) stay in place and mass 2 gets pulled downwards instead. If the latter occurs, pulley 2 rotates while pulley 1 also gets pulled upwards. Either way the motion and position of pulleys 1-4 and masses 2-4 are determined from the single motion of mass 3.
The position of mass 1 is kinematically independent of pulley 1 because of the elastic property of the spring. Therefore an additional variable is required to determine the position of mass 1.
We have 2 coordinates/variables to describe the system therefore it is a 2dof system
- 27
- 1
- 7


